本山人一直不太擅長在手機上打電玩遊戲,因為手指粗,每次玩畫面都被擋住,覺得很不方便。但是有一次在捷運上親眼見證一位男士 10 隻手指併用,在 4.7 吋螢幕不費吹灰殺出一條血路,技巧之神奇彷彿手指都發著聖光。

可是終究不是每個人都能修煉到這種境界,那就只能仰賴更好的電玩設備。我們麻瓜不隨身帶著遊戲手把,就不能好好的玩手遊嗎?未來將不再有這種限制。Apple 已在為 iPhone 成為手遊利器鋪路,從最近新公布的專利文件可見一斑。
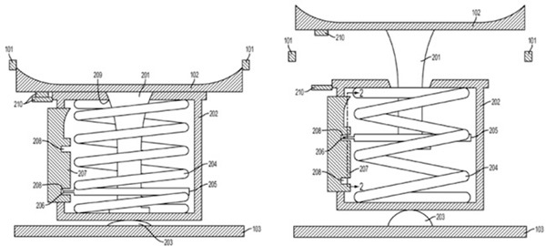
過去,iPhone 的 Home 鍵從機械按鍵變成觸控按鍵已是一大突破,下一階段,Home 鍵將成為前所未見的可升降、自由操控的搖桿按鍵。
專利文件中顯示,平時 Home 鍵還是擔任指紋辨識與 App 操控的工作,可是當使用者按壓,Home 鍵就會向上彈出,成為微型操控桿。

使用者應該可以像一般遊戲手把一樣操控。等你玩完遊戲,同樣再按壓一下,Home 鍵又收回它原來的位置。

是說這個專利論創意當然非常有創意,但考慮一下實際情況,什麼樣的 Home 鍵耐得住手遊頻繁又激烈的操縱?實務上大概要費更多心思選擇材質,測試通過大概也還要等上好一段時間,不過既然 Apple 已開始著手改變電玩族群的手遊體驗,手遊全面普及的日子大概也指日可待。